Friction Induced Vibrations in Shift Gearboxes
A shift gearbox is a commonly used element in automotive transmissions, which is needed for two reasons. Firstly, it transmits the driving torque of the motor. Secondly, because a combustion engine works best at its nominal speed, it changes the gears. Experimental data reveal that undesired vibrations can arise during the clutch engagement process. The aim of this research is to explain the emergence of such vibrations in order to understand how to successfully prevent them.
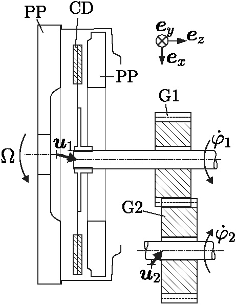
Depending on the manifestation of the vibrations, several model approaches are thinkeable to explain the effect. A basic idea is to investigate the stability of the stationary behaviour and the origination of friction-induced vibrations, because the vibrations only occur while the disc contact is sliding. The physical modelling of the system is a flexible multibody system approach. Components taken into account are the clutch disc, gears, shafts and the actuation.
Well-known reasons for friction induced vibrations are clutch judder at low frequencies and the wobbling disc instability. They both cause vibrations perceiveable by customers, and which can be measured e.g. acoustically.
Another instability at medium frequencies arises because of the gear coupling, where the amplification of clutch friction forces induces an instability. In this case, strong translational vibrations of shafts occur with opening contacts in clutch and gears and stick-slip-transitions. Because of the translational movement, such vibrations can be measured in the actuation signal of the clutch.
Yet further instabilities can arise because of the interaction of elastic disc modes with rigid-body modes. The frequency of such instable behaviour is higher than the previous ones. Here too, translational vibrations occur in combination with elastic plate oscillations.
Contact:
Publikationen
G. Jehle, 2016.
Zur Modellbildung und Simulation reibungserregter Schwingungen in Pkw-Schaltgetrieben.
KITopen, DOI 10.5445/IR/1000063372.
G. Jehle, A. Fidlin, O. Drozdetskaya, 2016.
Nonlinear dynamics of gearboxes with flexible friction clutch.
Proc. of ICTAM, 2016.
G. Jehle, A. Fidlin, 2016.
On the influence of the lamella's elasticity on self-excited vibrations in gearboxes.
PAMM, 16: 273-274. DOI:
G. Jehle, A. Fidlin, 2015.
Simulation starrer Verzahnung mit Reibung.
VDI-Berichte 2262, 9. Fachtagung Schwingungen in Antrieben 2015, Fulda, 28. und 29. Oktober 2015, VDI Verlag Düsseldorf 2015, S. 61-72
G. Jehle, A. Fidlin, 2015.
Numerical and experimental investigation of the effect of a fluid pipe on systems subjected to forced vibrations.
Proc. of ICoEV 2015, International Conference on Engineering Vibration, Ljubljana, 7-10 September 2015, p. 1079-1087.
Jehle, G. and Fidlin, A., 2015.
A DAE formulation for geared rotor dynamics including frictional contact between the teeth.
PAMM., 15: 251–252. doi: 10.1002/pamm.201510116
G. Jehle, M. Köster, A. Fidlin, A. Fridrich, 2014.
On the influence of the fluid pipe on the stability of a mechanical system subjected to friction-induced vibrations
Proc. of ENOC 2014, Eighth EUROMECH Nonlinear Dynamics Conference, 06 – 11 July 2014, Vienna, Austria, 2 p, ISBN: 978-3-200-03433-4.
Koester, M., Jehle, G. and Fidlin, A. 2014.
System Identification based on Model Synchronization
PAMM, 14: 929–930. doi: 10.1002/pamm.201410445
Jehle, G. and Fidlin, A., 2014.
Influence of the hydraulic fluid pipe on the dynamic stability of a shift gearbox
PAMM, 14: 279–280. doi: 10.1002/pamm.201410127
G. Jehle and A. Fidlin, 2014.
Friction induced vibrations in shift gearboxes
ZAMM, 94, No. 11, 911 – 916 (2014) / DOI 10.1002/zamm.201300252
G. Jehle, A. Fidlin, 2013.
Schwingungen in Schaltgetrieben: Selbsterregung durch Reibung in der Kupplung und Modenkopplung in der Verzahnung
VDI-Berichte 2197, 8. Fachtagung Schwingungen in Antrieben 2013, Fulda, 5. und 6. November 2013, VDI Verlag Düsseldorf 2013, S. 209-222
D. Kern, G. Jehle, W. Seemann, 2010.
A Wavebased Micromotor for Plane Motions (3-DoF)
Proc. of COMSOL User Conference 2010 (Paris 2010)
| Titel | Typ | Datum |
|---|---|---|
| Einfluss der Ausgasung aufs Kupplungsfading bei mehreren aufeinander folgenden Berganfahrten | Masterarbeit | ab sofort |
Betreute Lehrveranstaltungen
| SS 16 | Dynamics Lab |
| WS 15/16 | Mechatronik-Praktikum |
| SS 15 | Übungen zu Einführung in die Technische Mechanik II: Dynamik |
| WS 14/15 | Übungen zu Dynamik des KFZ-Antriebsstrangs |
| SS 14 | Übungen zu Technische Mechanik II für wiwi, etec, mage |
| WS 13/14 | Übungen zu Dynamik des KFZ-Antriebsstrangs |
| SS 13 | Übungen zu Einführung in Nichtlineare Schwingungen |
| WS 12/13 | Übungen zu Technische Mechanik III |
| WS 12/13 | Tutorial Engineering Mechanics III |
| SS 12 | Übungen zu Einführung in Nichtlineare Schwingungen |

